uAvionix announced that it has been granted a new patent critical to safe and secure integration of Unmanned Aircraft Systems (UAS) into National Airspace Systems (NAS). Continue reading
Category Archives: Patents
Everdrone Gets Patent for Drone Operations in Complex Airspace
Everdrone, a supplier of autonomous drone technology, announced that it has been approved for its first patent by the European Patent Office (EPO). Everdrone’s latest patented technology focuses on combining vision technology with unmanned aerial vehicles (UAV) to allow drones to fly safely and accurately in low altitude airspace where obstacles such as buildings and vegetation are often present. Continue reading
Disney Patent Reveals Drone Use to Control Show Elements
From a recent patent filed by Disney Enterprises, Inc., it seems Disney may be looking to take their stage shows to new heights with the help of drones. Continue reading
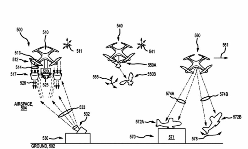
Amazon Patents Drones Pulling Skiers and Surfers
Amazon isn’t just thinking about delivery with its drones. The new patent made public this week reveals an idea for a drone-powered towing system designed for skiers, surfers, skaters, and more. Continue reading
PrecisionHawk Awarded Patents for UTM
PrecisionHawk, Inc., has announced that it has been awarded two patents for technologies it has developed for unmanned aircraft system traffic management (UTM). The patents, titled ‘Automated Unmanned Air Traffic Control System,’ are designed to enable collision avoidance between drones and manned aircraft. This is achieved by transmitting real-time flight data from drones to a UTM server prior to and while in-flight. Continue reading
Flirtey Granted New Patent for Safety of Drone Delivery
Flirtey has announced that it has been granted a new patent critical to the safety of drone delivery. This granted patent describes safety-enhancing technologies such as landing a drone safely in the event of failure by using a parachute and steering the drone towards a safe location. Continue reading
Vigilant Aerospace Signs New NASA Patent License for Radar Use in Detect-and-Avoid and UTM

NASA Engineer Ricardo Arteaga and Vigilant Aerospace CEO Kraettli Epperson on-site for beyond line-of-sight testing at NASA Armstrong
Vigilant Aerospace Systems has signed a new patent license agreement with the National Aeronautics and Space Agency (NASA) covering the use of radar in detect-and-avoid and unmanned traffic management (UTM) systems, including in the company’s FlightHorizon family of products. Continue reading
Patent to More Efficiently Detect Runway FOD
Naval Postgraduate School (NPS) Distinguished Professor Oleg Yakimenko recently filed for a patent proposing a system for automated detection, classification and possible removal of foreign object debris (FOD) on a runway using multiple, small unmanned aerial systems (sUAS) flying in formation. Continue reading






