Aloft (formerly Kittyhawk), a supplier of drone operations and airspace management solutions, has been awarded another patent for their industry leading Dynamic Airspace platform. Continue reading
Category Archives: Patents
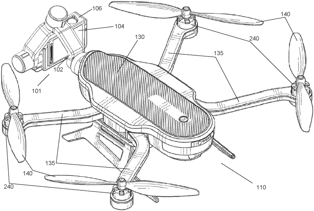
Vivo Patents Mobile Device with Tiny Removable UAV
Vivo has just patented drone-phone, or, as Vivo currently calls it, a “device shell with flight camera“, which appears to be exactly what this sounds like: a smartphone chassis designed to accommodate its very own mini-drone. Continue reading
US Air Force Develops Flapping-Wing Micro Drones
For the majority of the 21st century AFRL has been designing mini-robotic aircraft to mimic characteristics of insects and birds. Using biomimetics, the application of engineering, chemistry and biology to the synthesis of materials, engineers have created synthetic systems to function and achieve insect-like maneuverability. Continue reading
Duke Airborne Gets US Patent for Robotic Stabilization System
UAS Drone Corp. announced that Duke Airborne Systems Ltd., its wholly owned Israeli subsidiary, has received a notice of allowance from the U.S. Patent and Trademark Office for a patent titled “Stabilization System” with regard to its stabilization technology incorporated in its advanced robotic system. Continue reading
GoPro’s Noise Cancellation Patent
A new noise cancellation patent was granted this week for GoPro with a take on noise cancellation. Continue reading
Honda Files Patent for Drone-Equipped Motorcycle
Honda Motorcycles has just filed a patent application for a motorcycle-mounted drone with four rotors that sits in a housing in the extended tail of a motorcycle. It is intended to be completely autonomous so that it can be released on command and return automatically to the bike when needing a recharge. Continue reading
Draganfly Patents Variable Center of Gravity for VTOL Delivery Drones
Draganfly Inc. has announced the awarding of a new patent for a vertical take-off and landing (VTOL) cargo delivery drone with variable center of gravity. The design is ideal for Beyond Visual Line of Sight (BVLOS) and for transporting goods in hard to reach areas or flight over people at night. Continue reading
Russia to Patent Net-Catching Interceptor Drone
Russia’s Federal Service for Intellectual Property (Rospatent) has registered an application for an interceptor drone capable of capturing targets with a special net, according to the document released by the Federal Institute of Industrial Property on Tuesday. Continue reading







