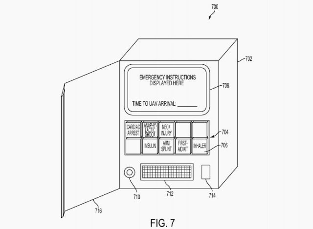
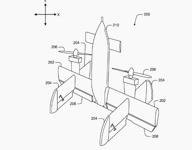
A new patent awarded to Google outlines a device that can call for a drone to fly in with specific medical equipment. Last year, Google patented the idea of flying drones to medical emergencies with life-saving technology onboard, and now it seems the tech giant has a plan for how we would contact these drones.
According to the Google patent, this could save precious minutes in emergencies, such as an anaphylactic shock caused by an allergic reaction, or a heart attack. The autonomous drone could head right out to the emergency with a defibrillator or a shot of adrenaline on board. As the patent puts it:
For example, if it takes 8-9 minutes for an EMS unit such as an ambulance or fire truck to arrive at the site of the emergency under normal circumstances, the first 60-120 seconds of that time may involve the dispatch (e.g., calling 9-1-1, speaking to an operator, etc.). A UAV, on the other hand can be dispatched with an example system without the human interaction required for typical 9-1-1 emergency response, and may be able to travel faster than a ground vehicle because it does not face traffic conditions and will have less distance to cover since it can travel “as the crow flies” versus following roads.
The patent also suggests that the device could deploy autonomous vehicles—perhaps like a self-driving car—suggesting that Google might also be thinking about uses for its self-driving car program beyond ferrying people on their commutes.
The patent also outlines how the device would connect to Google’s drone fleet—it could be either though a wifi, hardwired, or a cell connection—but doesn’t seem to suggest that the company has thought about implementing this in, say, an app. Presumably, the system would be most useful for people needing medical assistance wherever they are, not just near one of Google’s boxes—though the drones would likely need an open space to land. It’s possible Google wouldn’t want people calling drones from densely-packed areas.
Source: Quartz


Looks like a solution in search of a problem.
Having been in emergency services for over 40 years, I can tell you that response times are rarely over 5 minutes. The average response time is 3 minutes. How long would take to find the right medication, load it into a drone, program the correct destination, then drop the package outside of the scene. Less than 5 minutes? I think not.
Whatever drug they imagine they could drop from a drone is already carried on the rescue squad. Any medication not on the squad is not approved for use in the field.
If, somehow, the medication beats the squad to he scene, who is going to administer it? An untrained civilian?
I can’t believe anyone would even imagine this scheme would work.
You talk about that time of response in the city! but in the villages where there isn’t ambulances nearby the time of response can be about 10-15 minutes
Lemme see if I understood this correct. Am sure Google is not trying to replace the conventional emergency service, no, they just want to provide quicker first response through the use of drones. And also if you read the above description carefully, you will see that they are talking of pre-loaded drones (loaded with the necessary items for different situations). whichever situation is selected on the device, the appropriate drone is dispatched.
This patent has no technological height and should definitely be rejected.
It has been common knowledge, even before the advent of flying machines, that if you can deliver one sort of item by air then you definitely can deliver anything by air.
An idea worth a patent must add at lest something to the collective base of human knowledge.
The patent proposed is definitely NOT patentable and must be rejected.
Interesting to note that the people behind Google allows themselves to sink to such a low level as to apply for this patent.
Disgusting!
Best regards
Bengt R G Wikander
Stockholm, Sweden