In a move that Disney says could advance entertainment as well as advertising, the media powerhouse has filed a patent application for a “projection assembly for use with an unmanned aerial vehicle (UAV),” according to a copy of the filing.
Disney has signaled for some time that managers intend to use drones to create large Disney characters during night-time entertainment displays at the company’s Florida and California theme parks. In documents filed with the Federal Aviation Administration last month, Disney indicated as many as 50 drones could be in the air at one time.
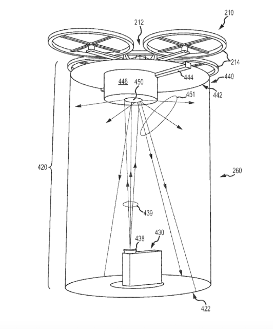
But how Disney’s imagineers planned to pull it off has remained a mystery. The patent application provides a few more clues.
The assembly will have the ability to project still photographs or video images, according to the application. The assembly contains a rear-projection screen that is a “sheet of porous material such as polypropylene mesh’ that will allow airflow through ” while also having adequate opaqueness to function as an RP screen.”
Also included is a wide angle reflector, such as a parabolic mirror, Disney said in its application. This is designed to reflect light from the projector onto the “rear surface of the rear-projection screen and this will generate a displayed image.”
Disney said the projection assembly “is configured to provide a way of radically expanding the palette of the aerial display” to include “all manner of imagery and effects.” In addition to “pure entertainment uses, Disney wrote the projection assembly has the potential to “open new frontiers for aerial advertising capabilities and for other applications such as rapid dissemination of emergency information to large numbers of people.”
Last month, Disney filed a request for an exception to FAA rules to enable it to fly drones at Walt Disney World. Right now, FAA rules prohibit drones from flying over the parks. In 2014, Disney managers filed for three drone-related patents, according to a story in Marketwatch.
In that first drone patent application, Disney managers indicated they saw potential in using drones for entertainment. “The inventors recognized,” Disney wrote then, “that presently there are no mechanisms for creating very large aerial displays, such as a display that is reusable/repeatable, dynamic, and interactive. To address that need, Disney’s R&D department is working to create a multi-drone aerial display system and a ground control station that could choreograph repeatable movements.”
Source: GeekWire
