Shorter take-offs and landings for aircraft, and better manoeuvrability for UAVs are just two of the possible benefits of an EU-supported breakthrough in propulsion technology.
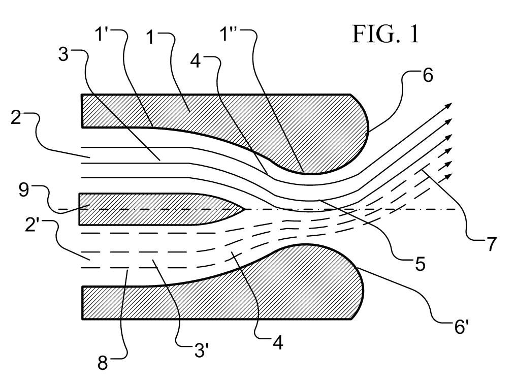
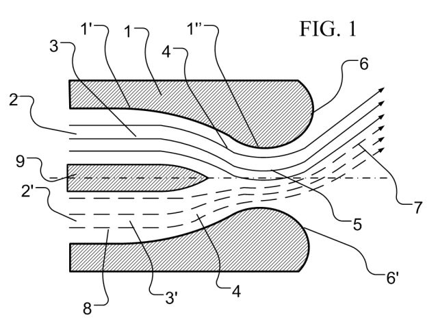
The vector thrust system developed by the ACHEON project is capable of directing the flow and pressure output of an aircraft engine to control its direction using a special nozzle that does not require additional mechanical moving parts, thus overcoming the main limitations of traditional vector thrust technologies, which are both complex and costly.
The project involved six universities and two research organisations from across the EU, including a team at Lincoln University’s school of engineering, which was responsible for evaluating the technology and its potential integration within aircraft. The research was funded by the 7th Framework Programme of the European Commission, which supports projects starting from academia that have promising potential industrial applications.
The nozzle’s design is based on two technologies; the HOMER nozzle concept by University of Modena and Reggio Emilia, Italy, and PEACE – Plasma Enhanced Actuator for Coanda Effect – that enhances the effects of the nozzle, created by University of Beira Interior, Portugal.
The Lincoln team evaluated the technology for a number of potential applications, including an unmanned aerial vehicle (UAV), a vertical take-off and landing (VTOL) military type application and both a large and small passenger transport aircraft.
As well as looking at the aerospace sector, the team is now evaluating how the nozzle technology could be used in other industrial applications, such as in the agricultural sector, where this could help farmers develop closer control of the areas sprayed with weedkiller. It could also be used to develop more accurate printing processes.
The consortium is hoping to continue the project with the development of a fully functional flying prototype, with help from their partners the Vrije Universiteit Brussel, Belgium, Nimbus SRL and Italy’s Reggio Emilia Innovazione.
‘We have proved the concept, but the technology now needs to be refined,’ said Tim Smith, senior research fellow at the University of Lincoln. ‘We are most likely to do some more work with UAVs when it comes to building a demonstrator, as the increased manoeuvrability the system provides is very attractive here.’
Image Credits: Acheon
Source: The Engineer
